Telegrafija




Telegrafija (grčki: tele: daljina + grafein: pisanje) je tehnika za prijenos tekstovnih poruka (na primjer brzojava, odnosno telegrama) na daljinu s pomoću signalnih kodova. Izumitelj električnoga telegrafa američki je izumitelj i slikar S. F. B. Morse. Prvo uspješno javno predstavljanje rada telegrafa Morse je upriličio 1837. Razvio je poznati kôd za prikaz tekstualnih znakova (Morseova abeceda), s pomoću kojega se svaki tekstualni znak prikazuje kao kombinacija određenoga broja točaka i crtica. Točka se prenosila kratkim, a crtica 3 puta duljim prekidom strujnoga toka s pomoću tipkala. [1]
Objašnjenje
Telegrafija je odašiljanje pisanih znakova na daljinu. Prvi telegraf izumio je Amerikanac S. F. B. Morse 1837. Glavni dijelovi Morseova telegrafa jesu:
- davač, pomoću kojega se vijesti, sastavljene od pisanih znakova, šalju električnim putem iz jednog mjesta u drugo;
- primač, pomoću kojega se vijesti primaju na drugom mjestu u vidljivom obliku i
- prijenosna linija, pomoću koje se znaci u obliku električnih impulsa, to jest kratkotrajnih struja, prenose od davača k primaču.
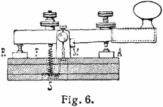
Davač ima tipkalo i bateriju. Tipkalo služi za puštanje i prekidanje struje, a sastoji se od kovne poluge na drvenom stalku s dva kovna kontakta. Od osovine tipkala ide vod do primača, a od stražnjeg kontakta ide spoj na galvansku bateriju, kojoj je drugi pol spojen sa zemljom. Struja je pri normalnom položaju tipkala prekinuta jer je poluga nategnuta elestičnim perom. Primač ima uređaj za pisanje i sastoji se od elektromagneta, nasuprot kojemu stoji željezna kotva na kraju poluge. Drugi krak poluge ima šiljak za otipkavanje Morseovih znakova. Nasuprot šiljku, satni mehanizam pomiče traku od papira. Žica koja ide od uređaja za davanje, prolazi kroz zavojnicu elektromagneta, a zatim u zemlju, gdje je spojena s kovnom pločom.
Kad se pritisne tipkalo, uspostavi se spoj poluge i kovnog kontakta, pa električna struja odlazi u drugu postaju gdje magnetizira elektromagnet. Elektromagnet privuče kotvu, a šiljak otisne odgovarajući znak na papiru. Već prema tome kako dugo traje spoj na tipkalu, šiljak na papiru zabilježi dugi ili kraći potez. Morseova abeceda je, naime, sastavljena od poteza i točaka. Svaka postaja ima uređaj za primanje i davanje.
Pri električnim prijenosima u telegrafiji radi se s malim električnim snagama koje se prenose na velike daljine, tako da je električna struja na mjestu prijema malena. Iznosi svega nekoliko miliampera. S ovako slabom strujom telegrafski aparati ne mogu raditi. Iz toga razloga telegrafski aparati imaju naročito osjetljive elektromagnete, takozvane releje, koji se mogu pobuditi slabim prijemnim strujama i imaju zadatak da uključe jake lokalne izvore struje i tako omoguće siguran rad telegrafskim aparatima.
Telegrafiranje može biti jednostrano (simpleksno) i dvostrano (dupleksno). Jednostrano telegrafiranje je takav rad između dviju postaja kod kojeg jedna stanica predaje, a druga prima i obratno. Kod dvostranog telegrafiranja mogu se istovremeno predavati i primati vijesti. Osim Morseova aparata postoje telegrafski aparati pomoću kojih se na prijamnoj stanici piše brzojav običnim slovima direktno na papir. Takvi se aparati zovu dalekopisači ili teleprinteri. [2]
Povijest
Prvim uređajem za telegrafiju smatra se tahigraf, koji je poruke prenosio slikovnim signalima. Tahigraf je izumio Francuz Claude Chappe u 17. stoljeću. Prenošenje poruka tahigrafom ovisilo je o dobu dana i o vremenskim uvjetima, a uz to su se poruke prenosile vrlo sporo. Znatno poboljšanje u odnosu na tahigraf bio je telegraf.
Elektromagnetizam
Otkriće elektromagnetizma (Hans Christian Ørsted) je utemeljilo izradbu mnogo boljih telekomunikacijskih uređaja. Prvi među njima bio je električni telegraf koji je izumio Amerikanac S. F. B. Morse 1837. Poruke između ta dva telegrafa se prenose u obliku kodiranih električnih signala. Kodiranje je postupak kojim se svaki znak iz izvorne poruke (slova, znamenke i drugo) po određenom pravilu pretvara u jedinstven kod, odnosno kodirani signal. Tako se Morseov telegraf koristi posebnim sustavom takvih kodiranih signala koji se nazivaju po njemu Morseova abeceda ili Morseov kod.
Radio valovi
Njemački fizičar Heinrich Hertz otkrio je 1888. radiovalove, vrstu signala, koji se, za razliku od električne struje, prenose prostorom bez potrebe za materijalnim vodičem. Nastaviviši Herzova istraživanja, talijanski fizičar Guglielmo Marconi je izradio 1896. prvi radiotelegraf, znači bežični telegraf koji je prenosio Morseove signale radiovalovima. Zahvaljujući bežičnom prijenosu informacija, radiotelegraf je uskoro postao najvažniji telekomikacijski uređaj u pomorskom, a poslije i u drugim vrstama prometa.
Teleprinter
Naprednija inačica telegrafa, nazvana teleprinter, razvijena je 1914. Teleprinter je bio opremljen tipkovnicom za unos slova, brojki i drugih tekstualnih znakova. Otipkani znakovi pretvarali su se u električne signale, koji su se telekomunikacijskim vodovima prenosili do prijamnoga teleprintera. U njem su se električni signali opet pretvarali u tekstualne znakove i ispisivali na papiru. Prijenosna brzina teleprintera bila je mnogo veća od brzine telegrafa i iznosila je i do 500 znakova u minuti. Globalna mreža teleprintera bila je formirana 1920. i nazvana Telex Network. Tijekom 20. stoljeću služila je većinom za poslovne komunikacije (na primjer u bankarstvu). U nas se udomaćio izraz teleks, koji označava uslugu slanja tekstualnih poruka teleprinterom. Daljnji razvoj telegrafije danas je uglavnom zaustavljen, jer se za prijenos tekstualnih poruka koriste naprednije usluge poput elektroničke pošte, pokretne telefonije i drugo.
Telegrafija u Hrvatskoj
Prvi telegraf u Hrvatskoj uveden je u promet 1850., a prvi Morseov telegraf 1854. Prvi podmorski telegrafski kabel bio je položen 1860. između kopna i otoka Cresa i otoka Vira. Prvi teleprinter u Hrvatskoj proradio je 1931. na relaciji Zagreb – Sušak. Prva funkcionalna automatska telegrafska centrala koračnoga tipa bila je uključena u promet u Zagrebu 1942., a prva javna automatska telegrafska centrala također u Zagrebu 1946. Nadalje, prva poluautomatska međunarodna teleksna centrala bila je postavljena 1953., a prva je veza uspostavljena na relaciji Zagreb – Nürnberg.