Ekscentar preša


Ekscentar preša se koriste za brzo kovanje predmeta malih izmjera (dimenzija). Sastoji se od kućišta u kojem se okreće ekscentar vratilo, koje je spojeno s klipnjačom, koja je spojena s klizačem na kojemu se nalazi bat. Time se pretvara kružno gibanje vratila elektromotora u izmjenično pravocrtno gibanje klizača s batom. Sve ove preše imaju posebnu tarnu grupu koja služi za uključivanje i isključivanje prijenosa gibanja sa zamašnjaka na ekscentar vratilo, kao i kočnicom za zaustavljanje gibanja ekscentar vratila.
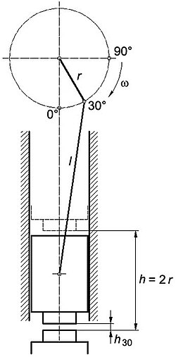
Elektromotor okreće zamašnjak na kojem je ekscentar (dio koljena koljenastog vratila), koji se koristi za pretvaranje kružnog gibanja u pravocrtno (preko ojnice koja obavlja oscilacijsko ili titrajuće gibanje). Koriste se za sve vrste obradaka (od najmanjih do najvećih) i obrade prešanjem u toplom i hladnom stanju, rade s velikom točnošću i preciznošću, relativno jednostavne konstrukcije i izvedbe, ali visoke produktivnosti i ekonomičnosti. Trajnost im je duga, jednostavne su za održavanje i lako se automatiziraju. Nedostatak im je visoka cijena i stručno posluživanje.
Preša
Preša ili tijesak (njem. Presse < srednjovj. lat. pressa, prema klas. lat. pressus: stisnut) je stroj za sabijanje tiještenje, tiskanje, probijanje, sječenje, kovanje i druge vrste obrada kod kojih se primjenjuje velika sila na razmjerno malenu putu. Način rada se zasniva na sabijanju materijala pokretnim alatom koji ima okomito vođenje, a predmet se nalazi na stabilnom postolju. Preša djeluje lagani, uz postupni porast sabijajuće sile koja dolazi i do jezgre predmeta. Prednost rada s prešama je ravnomjerno sabijanje, tih i miran rad, a nedostatak je skuplji rad u odnosu na rad s mehaničkim čekićima (bat). [1]
Namijenjena je ponajprije tlačnom opterećivanju obratka ili njegovoj deformaciji pravocrtnim gibanjem malja ili drugog alata prema radnomu stolu. Jednostavna drvena preša s navojnim vretenom od davnine je služila za cijeđenje grožđa, uljarica i slično, a prvi tiskarski strojevi također su bili jednostavne preše kojima se drvena ploča sa slovima pritiskala na papir. Za potrebe obrta i industrije razvijen je niz preša različitih po konstrukciji, namjeni i pritisku. Prema izvedbi razlikuju se vretenasta, mehanička i hidraulička preša. [2]
Preša je alatni stroj konstruiran za primjenu vrlo velike snage za oblikovanje ili rezanje materijala. Preše se izrađuju u rasponu od malih ručnih do velikih industrijskih postrojenja. Odlikuje ih mirniji rad od batova, te sa zato mogu koristiti većim silama. [3]
Izvori
- ↑ Mijo Matošević: "Tehnologija obrade i montaže", udžbenik za I razred strojarske struke, Um d.o.o., 2005.
- ↑ preša ili tijesak, [1], "Hrvatska enciklopedija", Leksikografski zavod Miroslav Krleža, www.enciklopedija.hr, 2015.
- ↑ [2] "Alatni strojevi I", dipl. ing. strojarstva Ivo Slade, www.cnt.tesla.hr, 2012.